Kunststofftank 96 Liter :
(bei 460 nachrüstbar)

tipp19b.htm: w463
Letzte Änderung 11.03.26/08.07.22/29.04.16/07.09.15/29.11.14/20.05.13/Beginn 08.03.2009
Impressum gem. DSGVO

Webseite Juliane - Stichwörterverzeichnis Geländewagen / Webseite
Stichwörterverzeichnis R230 - zurück zum Tankgebertipp

Die Webseiteninhalte bieten nur die Hilfe zur Selbsthilfe und sind keine Anleitung zur Reparatur, nur eine
Literatursammlung. Emails werden nicht beantwortet, es gibt keine Zugangsdaten! Das gilt nicht für mir bekannte
Clubmitglieder. Arbeiten am Fahrzeug erfordern fachliche Kompetenz und die Ehrlichkeit, die eigenen Fähigkeiten
richtig einzuschätzen oder besser die Finger davon zu lassen bzw. in die Werkstatt zu gehen. Alle Angaben nach
bestem Wissen, aber ohne Gewähr und Haftung! Etliche Hinweise können unter Umständen bei fehlerhafter Ausführung
zu erheblichen Folgeschäden führen. Es wird daher ausdrücklich jede Haftung dafür abgelehnt. Der Ausführende
trägt das alleinige und uneingeschränkte Risiko.

Durch Einatmen und Einnehmen von Super-Kraftstoff besteht Vergiftungsgefahr, Explosionsgefahr durch Entzünden
(statische Aufladung), eine offene Flamme oder Rauchen kann tödlich sein. Haut- und Augenkontakt mit Kraftstoff
unbedingt vermeiden. Geeigneten Schaum-Feuerlöscher bereit halten.
Übersicht:

1. Kunststofftank A4634700198 Benzin:
1.1 Beruhigungstopf:
2. Teile:
3. Kunststofftank 96 Liter:
3.1. Hitzeschutz:

4. Entlüftung Zusatztank 460/ Leitungen:
5. Tankentlüftung: 463 G500 Bj 2002:
siehe : Reparaturbeschreibung der Zusatztanks - Tankgeber: Metalltank - Kunststofftank
1. Kunststofftank A4634700198 Benzin: top

Zur Dokumentation stand ein Kunststofftank A4634710198 für Benzin zur Verfügung. Er wurde in einige Baumuster ab Ident-Nr. 106740 eingebaut (EPC: Gruppe 47 / 015), so beim 463, z.B. beim G320, G500, G55AMG, G6,3AMG und beim 461, 230GE. Dieser Tank Nr. 383599 aus PE (Polyethylen) wurde im Juni 1991 gefertigt, ELBATANER Noplast, TÜ1 5210389 und wiegt 9,580 kg.
Tank Tank Tank
Da die Aussparung für das Auspuffrohr fehlt, kann er nicht ohne Änderung der Auspuffanlage im Baumuster 460 eingebaut werden (2. Bild: Tank 240GD). Tank Metalltank mit Schutz Metalltank
Der Tank besitzt auf der Unterseite die Öffnung für das Kraftstoffsieb A4634700306, die Führungen für die Schlauchschellen für die Benzinpumpe und eine Abflussschraube A4604710085 mit Innensechskant.

Bilder vom Anschluss und Pumpe sind im tipp19.htm#b121.
Tank Tank Tank Tank463neu
An den Seiten sind zwei Entlüftungsstutzen, die durch eine Leitung mit dem Entlüftungsstutzen am Tankgeber verbunden sind. Tank Tank Tank Tank
1.1 Beruhigungstopf: top

Im Tank ist ein Beruhigungstopf enthalten (in ihm sitzt der Kraftstoffilter), von dem ein Schlauch zu einem Stutzen (roter Pfeil, Kraftstoff-Rücklaufleitung) führt. Über diese Rücklaufleitung wird der Beruhigungstopf bei niedrigem Kraftstoffniveau im Tank gefüllt.
Tank Tank Tank
2. Teile (Stand 8/2007) EPC: 461.229 230GE, Gruppe 47): top

Kunststofftank: A4634710198
Kraftstoffsieb: A4634700306
Hitzeschild: A4614700247
Tankgeber: A0095426717
Tankschutzplatte: A4634710087
dazu kommen event. die Teile für die Entlüftung
3. Kunststofftank 96 Liter in den 460er nachrüsten: top

Umrüstung vom Stahltank auf Kunststofftank für Benzin- und Dieselfahrzeuge z.B. beim 460.310 (Kraftstoffbehälter umrüsten, aus-, einbauen):

TYP 460 mit MOTOR 115.973, 602.930, 616.936 /941, 617.931; SM47.10-P-0001GDV
Kraftstoffbehälter aus-, einbauen: AR4710-P-4100GDV

TYP 460 mit MOTOR 102.964 /981 /987, 110.994 SM47.10-P-0001GE
Kraftstoffbehälter aus-, einbauen: AR4710-P-4100GE

Aus dem Forum www.viermalvier.de 17.12.2002
Text und Daten von Gerd (viermalvier.de), überarbeitet u. ergänzt von Dr. Hehl Hans (neue A-Nummern)!

"Eine Nachrüstanleitung für die Baureihe 460 von DC aus dem WIS druckt die freundliche Mercedes-Niederlassung um die Ecke sicher gern aus:

Für die G's mit Motor 102.964/981/987 (200GE, 230GE) und Motor 110.994 (280GE): SM47.10-P-0001GE
Tank-Nr. A4634710098
Teilesatz: A4614700104
A4634711201

Für die G's mit Motor 115.973 (230G), 602.930 (250GD), 616.936/941 (240GD), 617.931 (300GD): SM47.10-P-0001GDV
Tank-Nr. A4604701201 - Teilesatz: A4614700004

Eingebaute Zusatztanks können nicht mehr verwendet werden. Es wird ein neuer Einfullstutzen benötigt. Der Stutzen A4604701320 vom 230GE 461.217 wird nicht mehr geliefert.
Tank Tank Tank Tank
3.1 Hitzeschutz:

Text von Gerd! Das dritte Bild zeigt einen "Überhitzungsschaden" durch das heisse Abgasrohr trotz thermischer Isolierung (wegen Knauserigkeit vom Blechtank übernommen, besser ist aber der originale Hitzeschutz, 1. Bild)

Der Hitzeschutz ist äusserst wichtig, auch wenn das Stück Alufolie mit hitzebeständigem Dämmmaterial sauteuer ist.

Die beiden Anweisungen unterscheiden sich in der Tankausführung:
Einmal OHNE integrierte Benzinpumpe und einmal MIT integrierter Benzinpumpe am Tank.

Es gibt also ZWEI verschiedene Tankausführungen !

Gerd!: Bei meinem o-it yourself-Umbau hatte ich den Dieseltank genommen und musste die elektrische Pumpe für den Benziner 280GE am Rahmen mit einer extra Befestigung (Gummigelagert) anbauen. Die Verschraubungen und Leitungen müssen dafür entsprechend angepasst werden.
4. Entlüftung / Leitungen: top

Für alle, die mit der Leitungsführung bei den Zusatztanks der Stahltanks Probleme haben.
Gezeigte Leitungsführung ist in den Modellen ab ca. 1988 (250GD) verbaut.

Die Ventilkombination besteht aus
- Schwerkraftventil (links, Doppelpfeil)
- Belüftungsventil (oben, eintretender Pfeil)
- Entlüftungsventil (rechts, austretender Pfeil)

Sinn dieser Ventilkombination ist, bei extrem schrägstehendem oder auf dem Kopf liegenden Fahrzeug
Kraftstoffaustritt sicher zu vermeiden.

Tankdeckel OHNE Belüftung !
Tank
5. Tankentlüftung 463: G500 Bj 2002: top

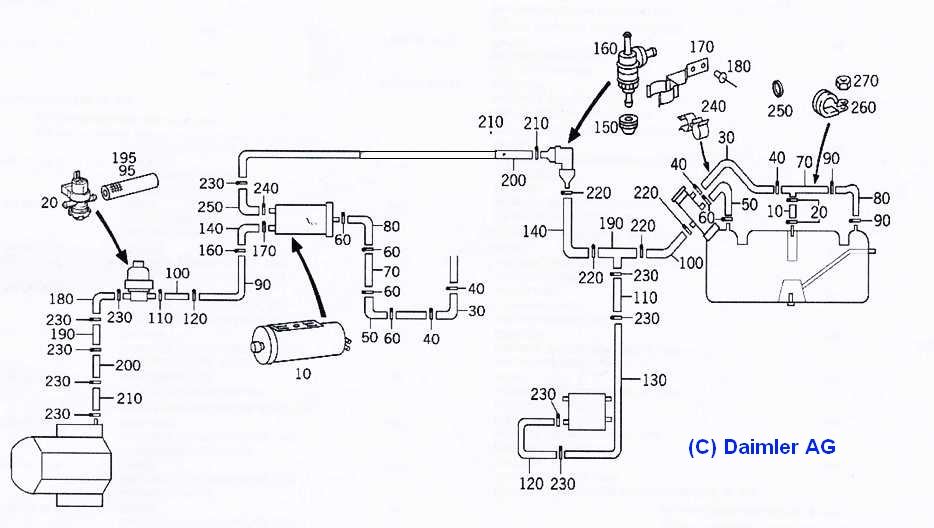
Rainer Haßold beschrieb die Tankentlüftung eines G500, Bj. 2002, vielen Dank! Hier sein Text:

Die drei Hochpunkte des Tanks, Rechts Mitte und Links (teils zu sehen in den beiden Radkästen) entlüften über die Schläuche 30, 50, 70 und 80 in zwei seitliche Anschlüsse im Einfüllstutzen. Der Tankdeckel hat keine Entlüftungsbohrung.

Die eigentliche Entlüftungsleitung verläuft im rechten hinteren Radhaus vom Einfüllstutzen zu einem T Stück. Von da verläuft die Leitung 130 zum Kraftstofffilter im Motorraum. Leitung 140 führt nach oben zum Schwerkraftventil, das im Innenraum unterhalb der rechten, hinteren Seitenscheibe hinter der Verkleidung angebracht ist.
Tank
Das Ventil verhindert Kraftstoffaustritt bei einem Überschlag. Von dort führt eine Stahlleitung in Fahrtrichtung nach hinten wieder ins Radhaus zum Aktivkohlefilter 10. Dieser filtert die Benzindämpfe heraus und bindet sie, vor der Rest der Luft über Leitung 80, 70, 50 und 30 (linke Bildhälfte) ins Freie entlassen wird. Die Leitung verläuft vom Aktivkohlefilter zur rechten hinteren Ecke der Karosserie, ins rechte Rücklicht und von dort im hinteren Querholm bis zur Mitte des Fahrzeuges und entlüftet dann nach unten in Richtung Anhängerkupplung.

Leitung 140, 90, 100 führt zum Regenerierventil 20, das im Motorraum angebracht ist. Dieses Ventil steuert die Regenerierung des Aktivkohlefilters. Über das Ansaugrohr des Motors werden die Benzindämpfe aus dem Filter gezogen und verbrannt.

Den Aktivkohlefilter kann man in Fahrtrichtung nach vorne einfach aus seiner Halterung ziehen, um ihn zu tauschen. Die beiden Anschlüsse vom Tankeinfüllstutzen und zum Regenierventil sitzen in Fahrtrichtung hinten, was den Tausch nicht einfacher macht.

Entstehen bei Fahrt mit Teillast brummende Geräusche hinter der rechten hinteren Seitenverkleidung, so vibriert das Schwerkraftventil, weil zu viel Luft durchströmt. Das liegt eventuell an einem verstopften Aktivkohlefilter oder kann an einer verstopften Entlüftungsleitung vom Filter nach draußen liegen. Die Durchlässigkeit der Leitungen mit Druckluft prüfen. Sonst die Leitung ersetzen.

Valid HTML 4.01! Validation für HTML 4.01 - diese Seite validieren:

top zurück zum Anfang